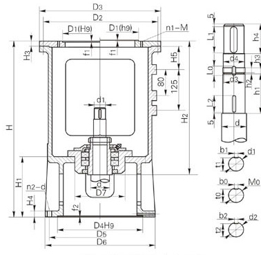
XD型机架(HG2156、21567-95)

本系列机架是化工行业标准机架,是为搅拌传动装置(HG21563-95)配套的机架。XD型为单支点机架,减速机出轴用DF型联轴器与搅拌轴联接,XS型为双支点机架,减速机出轴用HL型联轴器联接,两支点间用DF型联轴器联接。机架分A型(轴封采用2001、2003、2004、2006型机械密封)或B型(轴封(2002、2005、2007型机械密封或506、516、606、616型填料箱)。机架输出端接口可与第九部分(二节)所列的安装底盖及釜口法兰联接。
本系列机架通用性强,由于选用型DF联轴器及安装底盖的搁轴装置,所以在不拆除减速机和机架的条件下,在机架的侧面窗口中就可以拆出带短节联轴器、轴承室及机械密封或填料箱。
本系列机架通用性强,由于选用型DF联轴器及安装底盖的搁轴装置,所以在不拆除减速机和机架的条件下,在机架的侧面窗口中就可以拆出带短节联轴器、轴承室及机械密封或填料箱。

型号标定方法及示例:

主要参数及尺寸(公称直径200、250、300)
|
机架 型号 |
机架 公称 直径 |
传动轴 轴径d |
传动轴上 端轴径d1 |
减速机 输出轴 径d0 |
输入 端接 口 |
输出端接口 | 外形及其它尺寸 | 轴承型号 | 重量(kg) | ||||||||||||||
|
D4 H9 |
D5 | D6 | n2-d | f2 | A型 | B型 | H3 | H4 | H5 |
D7 H8/f7 |
A型 | B型 | |||||||||||
| H | H1 | H2 | H | H1 | H2 | ||||||||||||||||||
| XD1 | 200 | 30 | 20 | 12 |
见 表 |
245 | 295 | 340 | 8-22 | 6 | 575 | 220 | 415 | 730 | 295 | 495 | 17 | 24 | 85 | 180 | 46209 | 57 | 61 |
| 14 | |||||||||||||||||||||||
| 18 | |||||||||||||||||||||||
| 40 | 30 | 25 | 415 | 495 | 46209 | 57 | 60 | ||||||||||||||||
| 30 | |||||||||||||||||||||||
| XD2 | 250 | 50 | 40 | 30 | 290 | 350 | 395 | 12-22 | 6 | 750 | 268 | 556 | 995 | 388 | 681 | 20 | 30 | 100 | 245 | 46214 | 106 | 116 | |
| 35 | |||||||||||||||||||||||
| 40 | |||||||||||||||||||||||
| 60 | 45 | 35 | 556 | 681 | 46214 | 107 | 117 | ||||||||||||||||
| 40 | |||||||||||||||||||||||
| 45 | |||||||||||||||||||||||
| 70 | 55 | 45 | 565 | 690 | 46217 | 104 | 114 | ||||||||||||||||
| 50 | |||||||||||||||||||||||
| 55 | |||||||||||||||||||||||
| XD3 | 300 | 60 | 45 | 35 | 320 | 400 | 445 | 12-22 | 6 | 795 | 279 | 595 | 1040 | 399 | 720 | 20 | 30 | 100 | 280 | 46216 | 153 | 164 | |
| 40 | |||||||||||||||||||||||
| 45 | |||||||||||||||||||||||
| 70 | 55 | 45 | 595 | 720 | 46216 | 150 | 161 | ||||||||||||||||
| 50 | |||||||||||||||||||||||
| 55 | |||||||||||||||||||||||
| 80 | 65 | 55 | 606 | 731 | 46218 | 149 | 160 | ||||||||||||||||
| 60 | |||||||||||||||||||||||
| 65 | |||||||||||||||||||||||
|
机架 型号 |
机架 公称 直径 |
传动轴 轴径d |
传动轴上 端轴径d1 |
传动轴端尺寸 | ||||||||||||||||
| M0 | d2(h9) | d3 | d4 | h1 | h2 | h3 | h4 | L1 | L0 | L2 | b1 | b0 | b2 | t1 | t0 | t2 | ||||
| XD1 | 200 | 30 | 20k6 | M25×1.5 | 25 | 22.8 | 22 | 97 | 3 | 15 | 48 | 40 | 23 | 30 | 6 | 5 | 5 | 16.5 | 21 | 22 |
| 40 | 30k6 | M35×1.5 | 35 | 32.8 | 32 | 97 | 3 | 15 | 48 | 40 | 24 | 30 | 8 | 6 | 6 | 26 | 31 | 31.5 | ||
| XD2 | 250 | 50 | 40k6 | M45×1.5 | 45 | 42.8 | 42 | 105 | 3 | 15 | 58 | 50 | 24 | 30 | 12 | 6 | 6 | 35 | 41 | 41.5 |
| 60 | 45k6 | M55×2 | 55 | 52 | 50 | 115 | 4 | 18 | 68 | 60 | 30 | 40 | 14 | 8 | 8 | 39.5 | 51 | 51 | ||
| 70 | 55m6 | M65×2 | 65 | 62 | 60 | 125 | 4 | 18 | 83 | 75 | 30 | 40 | 16 | 8 | 8 | 49 | 61 | 61 | ||
| XD3 | 300 | 60 | 45k6 | M55×2 | 55 | 52 | 50 | 125 | 4 | 18 | 68 | 60 | 30 | 40 | 14 | 8 | 8 | 39.5 | 51 | 51 |
| 70 | 55m6 | M65×2 | 65 | 62 | 60 | 125 | 4 | 18 | 83 | 75 | 30 | 40 | 16 | 8 | 8 | 18 | 61 | 61 | ||
| 80 | 65m6 | M75×2 | 75 | 72 | 70 | 139 | 4 | 18 | 98 | 90 | 32 | 50 | 18 | 10 | 10 | 58 | 69 | 70 | ||
XD型单支点机架主要参数及尺寸(公称直径400,500,700)
|
机架 型号 |
机架 公称 直径 |
传动轴 轴径d |
传动轴上 端轴径d1 |
减速机 输出轴 径d0 |
输入 端接 口 |
输出端接口 | 外形及其它尺寸 | 轴承型号 | 重量(kg) | ||||||||||||||
|
D4 H9 |
D5 | D6 | n2-d | f2 | A型 | B型 | H3 | H4 | H5 | D7 | A型 | B型 | |||||||||||
| H | H1 | H2 | H | H1 | H2 | ||||||||||||||||||
| XD4 | 400 | 90 | 75 | 55 |
见 表 |
415 | 515 | 565 | 16-26 | 6 | 890 | 310 | 691 | 1115 | 420 | 806 | 25 | 35 | 100 | 310 | 46222 | 251 | 256 |
| 65 | |||||||||||||||||||||||
| 70 | |||||||||||||||||||||||
| 100 | 85 | 65 | 691 | 806 | 46222 | 256 | 270 | ||||||||||||||||
| 70 | |||||||||||||||||||||||
| 80 | |||||||||||||||||||||||
| XD5 | 500 | 100 | 85 | 65 | 520 | 620 | 670 | 20-26 | 6 | 1075 | 369 | 821 | 1325 | 494 | 946 | 30 | 40 | 140 | 335 | 46224 | 409 | 435 | |
| 70 | |||||||||||||||||||||||
| 80 | |||||||||||||||||||||||
| 110 | 90 | 70 | 821 | 946 | 46224 | 405 | 431 | ||||||||||||||||
| 80 | |||||||||||||||||||||||
| 90 | |||||||||||||||||||||||
| 120 | 100 | 90 | 829 | 954 | 46228 | 401 | 427 | ||||||||||||||||
| 95 | |||||||||||||||||||||||
| 100 | |||||||||||||||||||||||
| 130 | 110 | 95 | 829 | 954 | 46228 | 395 | 421 | ||||||||||||||||
| 100 | |||||||||||||||||||||||
| 110 | |||||||||||||||||||||||
| XD6 | 700 | 120 | 100 | 90 | 670 | 780 | 830 | 28-26 | 6 | 1185 | 399 | 909 | 1415 | 514 | 1024 | 35 | 45 | 100 | 400 | 46228 | 729 | 766 | |
| 95 | |||||||||||||||||||||||
| 100 | |||||||||||||||||||||||
| 130 | 110 | 95 | 909 | 1024 | 46228 | 721 | 758 | ||||||||||||||||
| 100 | |||||||||||||||||||||||
| 110 | |||||||||||||||||||||||
| 140 | 120 | 100 | 927 | 1042 | 46232 | 729 | 766 | ||||||||||||||||
| 110 | |||||||||||||||||||||||
| 120 | |||||||||||||||||||||||
| 160 | 140 | 120 | 943 | 1058 | 46234 | 697 | 734 | ||||||||||||||||
| 130 | |||||||||||||||||||||||
| 140 | |||||||||||||||||||||||
| XD7 | 900 | 140 | 120 | 100 | 940 | 1070 | 1124 | 40-30 | 6.4 | 1320 | 440 | 1021 | 1560 | 570 | 1141 | 40 | 50 | 140 | 520 | 46232 | 985 | 874 | |
| 110 | |||||||||||||||||||||||
| 120 | |||||||||||||||||||||||
| 160 | 140 | 120 | 1037 | 1157 | 46234 | 1000 | 889 | ||||||||||||||||
| 130 | |||||||||||||||||||||||
| 140 | |||||||||||||||||||||||
| 180 | 160 | 140 | 1050 | 1170 | 46240 | 1010 | 899 | ||||||||||||||||
| 150 | |||||||||||||||||||||||
| 160 | |||||||||||||||||||||||
| 200 | 180 | 160 | 1070 | 1190 | 46244 | 1032 | 921 | ||||||||||||||||
| 170 | |||||||||||||||||||||||
| 180 | |||||||||||||||||||||||
|
机架 型号 |
机架 公称 直径 |
传动轴 轴径d |
传动轴上 端轴径d1 |
传动轴端尺寸 | ||||||||||||||||
| M0 | d2(h9) | d3 | d4 | h1 | h2 | h3 | h4 | L1 | L0 | L0 | b1 | b0 | b2 | t1 | t0 | t2 | ||||
| XD4 | 400 | 90 | 75m6 | M85×2 | 85 | 82 | 80 | 162 | 4 | 18 | 108 | 100 | 32 | 50 | 20 | 10 | 10 | 67.5 | 79 | 80 |
| 100 | 85m6 | M95×2 | 95 | 92 | 90 | 166 | 4 | 22 | 118 | 110 | 38 | 50 | 22 | 12 | 12 | 76 | 89 | 90 | ||
| XD5 | 500 | 100 | 85m6 | M95×2 | 95 | 92 | 90 | 166 | 4 | 22 | 118 | 110 | 38 | 50 | 22 | 12 | 12 | 76 | 89 | 90 |
| 110 | 90m6 | M100×2 | 100 | 97 | 95 | 166 | 4 | 22 | 118 | 110 | 38 | 50 | 25 | 12 | 12 | 81 | 94 | 95 | ||
| 120 | 100m6 | M110×2 | 110 | 107 | 105 | 177 | 4 | 22 | 128 | 120 | 40 | 60 | 28 | 14 | 14 | 60 | 104 | 104.5 | ||
| 130 | 110m6 | M120×2 | 120 | 117 | 115 | 177 | 4 | 26 | 138 | 130 | 44 | 70 | 28 | 14 | 14 | 100 | 114 | 114.5 | ||
| XD6 | 700 | 120 | 100m6 | M110×2 | 110 | 107 | 105 | 177 | 4 | 22 | 128 | 120 | 40 | 60 | 28 | 14 | 14 | 90 | 104 | 104.5 |
| 130 | 110m6 | M120×2 | 120 | 117 | 115 | 177 | 4 | 26 | 138 | 130 | 44 | 70 | 28 | 14 | 14 | 100 | 114 | 114.5 | ||
| 140 | 120m6 | M130×2 | 130 | 127 | 125 | 197 | 4 | 26 | 153 | 145 | 44 | 70 | 32 | 14 | 14 | 109 | 122 | 124.5 | ||
| 160 | 140m6 | M150×2 | 150 | 147 | 145 | 207 | 4 | 30 | 168 | 160 | 50 | 70 | 39 | 16 | 16 | 128 | 142 | 144 | ||
| XD7 | 900 | 140 | 120m6 | M130×2 | 130 | 127 | 125 | 197 | 4 | 26 | 153 | 145 | 44 | 70 | 32 | 14 | 14 | 109 | 122 | 124.5 |
| 160 | 140m6 | M150×2 | 150 | 147 | 145 | 207 | 4 | 30 | 168 | 160 | 50 | 70 | 36 | 16 | 16 | 128 | 142 | 144 | ||
| 180 | 160m6 | M170×3 | 170 | 166 | 165 | 227 | 4 | 32 | 198 | 190 | 52 | 80 | 40 | 16 | 16 | 157 | 162 | 164 | ||
| 200 | 180m6 | M190×3 | 190 | 186 | 185 | 242 | 4 | 32 | 238 | 230 | 54 | 90 | 45 | 18 | 18 | 175 | 180 | 182 | ||
|
XD、XS型机架输入端接口尺寸减速机输出轴径d0
|
减速机类别代号 | D1 | D2 | D3 | n1-M | f1 |
| 12 | Z | 65 | 100 | 120 | 4-M6 | 3 |
| 14 | Z | 85 | 120 | 140 | 4-M8 | 3 |
| 18 | Z | 100 | 134 | 160 | 4-M8 | 4 |
| 25 | Z | 130 | 160 | 180 | 6-M8 | 4 |
| C | 170 | 200 | 230 | 6-M10 | 3 | |
| 30 | C | 200 | 230 | 260 | 6-M12 | 4 |
| 35 | Z | 170 | 200 | 230 | 6-M10 | 5 |
| C | 230 | 260 | 290 | 6-M12 | 4 | |
| 40 | Z | 170 | 200 | 230 | 6-M10 | 5 |
| C | 230 | 260 | 290 | 6-M12 | 4 | |
| 45 | Z | 200 | 230 | 260 | 6-M10 | 5 |
| C | 230 | 260 | 290 | 6-M12 | 4 | |
| 50 | Z | 200 | 230 | 260 | 6-M10 | 5 |
| C | 270 | 305 | 340 | 8-M16 | 5 | |
| 55 | Z | 270 | 310 | 340 | 6-M10 | 5 |
| C | 270 | 305 | 340 | 8-M16 | 5 | |
| 60 | C | 320 | 360 | 400 | 8-M16 | 5 |
| 65 | Z | 316 | 360 | 400 | 8-M12 | 6 |
| Z1 | 270 | 310 | 340 | 6-M10 | 5 |
| 减速机输出轴径d0 | 减速机类别代号 | D1 | D2 | D3 | n1-M | f1 |
| 60 | C | 320 | 360 | 400 | 8-M16 | 5 |
| 70 | Z | 316 | 360 | 400 | 8-M16 | 6 |
| C |
320 316 |
360 | 400 | 8-M16 | 5 | |
| 80 | Z | 345 | 390 | 430 | 8-M16 | 6 |
| Z1 | 316 | 360 | 400 | 8-M12 | 6 | |
| C | 360 | 410 | 460 | 8-M20 | 6 | |
| 90 | Z | 400 | 450 | 490 | 12-M16 | 8 |
| C | 360 | 410 | 460 | 8-M20 | 6 | |
| 95 | Z | 400 | 450 | 490 | 12-M16 | 8 |
| Z1 | 455 | 520 | 580 | 12-M20 | 10 | |
| 100 | Z | 455 | 520 | 580 | 12-M20 | 10 |
| C | 470 | 520 | 580 | 12-M20 | 6 | |
| 110 | Z | 520 | 590 | 650 | 12-M20 | 12 |
| C | 470 | 520 | 580 | 12-M20 | 6 | |
| 120 | Z | 520 | 590 | 650 | 12-M20 | 12 |
| C | 550 | 600 | 660 | 12-M20 | 6 | |
| 130 | Z | 680 | 800 | 880 | 12-M30 | 12 |
| C | 680 | 800 | 880 | 12-M30 | 8 | |
| 140 | Z | 680 | 800 | 880 | 12-M30 | 12 |
| 180 | Z | 900 | 1020 | 1160 | 12-M36 | 12 |
2、其他类型减速机由我公司对接口加以调整后也可配套。
下一篇:XS型双支点机架

快速链接:
产品展示:
联系我们:
苏公网安备32020602003192号